技成培训网 技成学习APP 技成工具箱 技成企业服务

欢迎回到技成培训网

技成培训网

电工题库宝典

技成电工课堂

PLC练习题

技成PLC课堂

变频器故障查询

技成PLC学吧

伺服驱动故障查询

技成PLC网校

当前位置:技成首页 > 文章中心 > 技成百科 > “高字节低地址”---------用文字如何描述这个概念?

“高字节低地址”---------用文字如何描述这个概念?

刘玉蓉 发布于2014-12-08 17:21 3 0 标签:

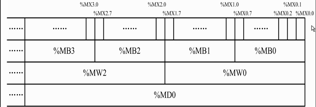
关于西门子的地址排列一直都是高字节低地址:
如:MD0----->MB0+MB1+MB2+MB3
 这里到底高字节是指哪个部分?低地址又是哪个部分?

另外补充我这个附件里图:---------的这个是什么排列?


图片说明: 1,地址排列  

佳答案

300/400中的地址排列关系见附图。200的也是一样的。
比如:MD100,所谓的高字节低地址就是指高字节是MB100,100在100--103中是小的地址数。简单说就是小数值对应的是大字节。

你附件中的表示方式三菱的是这样的,和西门子的相反。


图片说明:1,1  

若有收获,就点个赞吧!

文章来源于网络及文献如有侵权请联系站长
分享到:

微信扫一扫分享

阅读与本文标签相同的文章

相关推荐

最新文章 热门文章
最新课程 免费课程
PLC资料下载 电工电气资料下载
应用新秀
变频器故障代码查询APP
伺服故障代码查询APP
技成
手机APP
热门标签