技成培训网 技成学习APP 技成工具箱 技成企业服务

欢迎回到技成培训网

技成培训网

电工题库宝典

技成电工课堂

PLC练习题

技成PLC课堂

变频器故障查询

技成PLC学吧

伺服驱动故障查询

技成PLC网校

当前位置:技成首页 > 文章中心 > 技成百科 > PLC站 CPU模块左侧电源模块 报BF SF 通讯故障,PLC与MP277失去通讯

PLC站 CPU模块左侧电源模块 报BF SF 通讯故障,PLC与MP277失去通讯

刘玉蓉 发布于2014-10-24 17:38 4 0 标签:

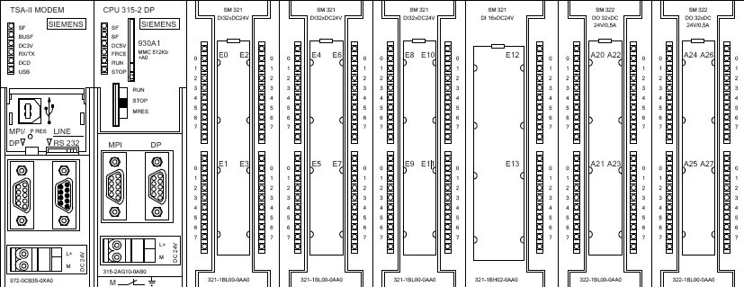
PLC站 CPU模块左侧电源模块 报BF SF 通讯故障,PLC与MP277失去通讯 。设备组成PLC主站(电源模块 ,CPU315-2DP,DI32,DI16,DO32.DO16,DO8 ,CP340) 多台6SE70逆变器,直流母线供电,MP277现场操作台。故障过程:整条生产线正常运行,瞬间停车,无报警,发现操作台MP277显示屏无组态画面,所有操作不起作用,重启后MP277报 连接中断 315 2DP  站20 槽0 ,控制柜内CPU模块左侧电源模块 报BF SF 通讯故障,所有逆变器显示屏不上电 。 敬请指教!

问题补充:
补充:PLC站 CPU左侧模块SF,BUSF红灯报警,右侧CP340 SF红灯报警  ,附PLC站图纸  ,不好意思前两天笔记本中病毒 ,所有软件over了。                                              PLC站 CPU模块左侧电源模块 报BUSF SF 通讯故障,PLC与MP277失去通讯 。设备组成PLC主站(电源模块 ,CPU315-2DP,DI32,DI16,DO32.DO16,DO8 ,CP340) 多台6SE70逆变器,直流母线供电,MP277现场操作台。故障过程:整条生产线正常运行,瞬间停车,无报警,发现操作台MP277显示屏无组态画面,所有操作不起作用,重启后MP277报 连接中断 315 2DP  站20 槽0 ,控制柜内CPU模块左侧电源模块 报BUSF SF 通讯故障,所有逆变器显示屏不上电 。 敬请指教!


图片说明: 1,PLC站图片   2,PLC站右侧 CP340  

佳答案

PLC站 CPU模块左侧电源模块 报BF SF 通讯故障?
电源模板上没有BF SF 指示灯,即有BF SF指示灯 不是电源模板。
BF:总线故障。 SF:系统故障,其与BF同亮。

故障过程:整条生产线正常运行,瞬间停车?
BF:总线故障。有关通讯的硬件故障,检查:
有关通讯的线缆、连接器及接口安装是否牢固。

建议应用STEP7在线诊断功能,进行诊断,这样系统会给出诊断信息,解读这些诊断信息可以正确定位问题的所在。
可将诊断信息帖出来,大家帮你分析。

若有收获,就点个赞吧!

文章来源于网络及文献如有侵权请联系站长
分享到:

微信扫一扫分享

阅读与本文标签相同的文章

相关推荐

最新文章 热门文章
最新课程 免费课程
PLC资料下载 电工电气资料下载
应用新秀
变频器故障代码查询APP
伺服故障代码查询APP
技成
手机APP
热门标签